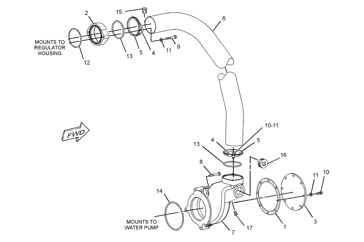
Catelpillar LINES GP-WATER –BYPASS
0
0
Корзина