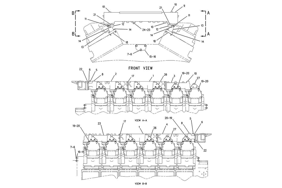
Catelpillar LINES GP-WATER –UPPER
0
0
Корзина